Measurement
Measurement
Spark checkers report each job outcome to Spark’s on-chain Impact Evaluator, built using the Meridian framework.
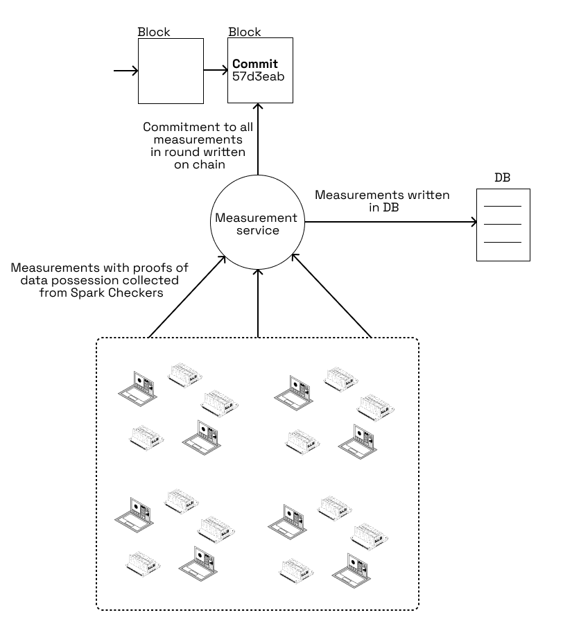
Each round, the Spark measure service stores the measurements in an off-chain database. It also submits a root hash of all the measurements onto the chain so that each measurement is verifiably included in its round. This is so that Spark checkers can be sure their measurement have been included in the round.
← Previous
Next →
On this page
